Max-Power Thrust it to the max


Index Cart Contact Return Policy Spare Parts

EspaƱol spain Installation Manuals



CT 125
Hydraulic Tunnel Thruster
Spares

Max-Power CT125 Spare parts

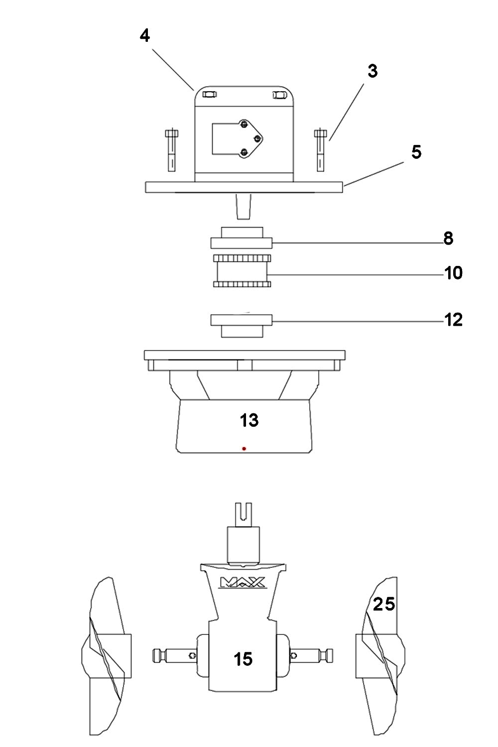
4 Hydraulic motor 6cc
4 Hydraulic motor 11cc
5 Hydraulic motor adapter plate
8 Coupling motor side
10 Rubber coupling
12 Coupling drive leg side
13 Motor support
15 Composite leg
25 Propeller


Max-Power footer